コスト効率の高い割りピンを入手すると、品質証明書が付属している場合があります。これは基本的に、割りピンが検査され、一定の基準を満たしていることを示す書類です。
証明書には、割りピンの詳細、つまり誰が作ったのか、何でできているのか、サイズ、どのバッチから来たのかが記載されています。割ピンの強度や寸法精度、折れずにきちんと曲がるかなどを検査したことがわかります。また、亜鉛メッキなどの表面処理が正しく行われているかどうかもチェックします。
証明書には、テストを行った検査官によって署名および押印されます。この書類は、割ピンが特定の要件を満たしていることを証明する必要がある企業、特に品質追跡が重要な自動車や製造などの業界に役立ちます。基本的に、割りピンを受け取る前に、その割りピンが適切に検査されていることを保証します。
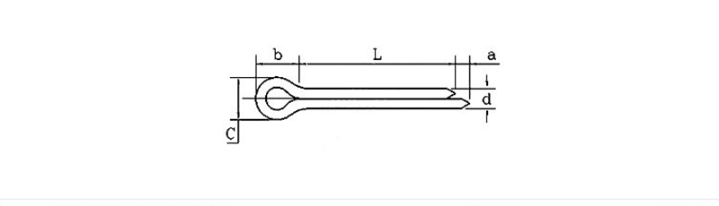
| d | 0.6 | 0.8 | 1 | 1.2 | 1.5 | 2 | 2.5 | 3.2 | 4 | 5 | 6.3 | 8 | 10 | 13 | 16 | 20 | |
| d | 最大 | 0.5 | 0.7 | 0.9 | 1 | 1.4 | 1.8 | 2.3 | 2.9 | 3.7 | 4.6 | 5.9 | 7.5 | 9.5 | 12.4 | 15.4 | 19.3 |
| 分 | 0.4 | 0.6 | 0.8 | 0.9 | 1.3 | 1.7 | 2.1 | 2.7 | 3.5 | 4.4 | 5.7 | 7.3 | 9.3 | 12.1 | 15.1 | 19 | |
| a | 最大 | 1.6 | 1.6 | 1.6 | 2.5 | 2.5 | 2.5 | 2.5 | 3.2 | 4 | 4 | 4 | 4 | 6.3 | 6.3 | 6.3 | 6.3 |
| 分 | 0.8 | 0.8 | 0.8 | 1.25 | 1.25 | 1.25 | 1.25 | 1.6 | 2 | 2 | 2 | 2 | 3.15 | 3.15 | 3.15 | 3.15 | |
| b≈ | 2 | 2.4 | 3 | 3 | 3.2 | 4 | 5 | 6.4 | 8 | 10 | 12.6 | 16 | 20 | 26 | 32 | 40 | |
| C | 最大 | 1 | 1.4 | 1.8 | 2 | 2.8 | 3.6 | 4.6 | 5.8 | 7.4 | 9.2 | 11.8 | 15 | 19 | 24.8 | 30.8 | 38.5 |
| 分 | 0.9 | 1.2 | 1.6 | 1.7 | 2.4 | 3.2 | 4 | 5.1 | 6.5 | 8 | 10.3 | 13.1 | 16.6 | 21.7 | 27 | 33.8 | |
コスト効率の高い割りピンは、主に機械、自動車、設備の部品の緩みを防ぐために使用されます。その役割は、ボルト、シャフト、またはその他のピンが振動によって滑り出すのを防ぐことです。たとえば、自動車では、安全を確保するためにホイールハブやサスペンションに割りピンが使用されていることがよくあります。
工場の機械では、すべての位置を揃えるために、ヒンジや可動ジョイントに割りピンが使用されることがあります。ボートでは、クリートなどのハードウェアを所定の位置に保持できます。日常的には、芝刈り機の刃や自転車のペダルを固定するために割りピンを使用することがあります。割りピンを穴に押し込んで 2 本の突起を曲げるだけです。これは、しっかりと保持されながら、必要なときに取り外すことができる接続を作成する簡単な方法です。
質問: コスト効率の高い割りピンの証明書を提供してもらえますか?
回答: はい、ピンの材質証明書を発行できます。これは、当社が ISO 1234 などの規格を満たしていることを示しています。これにより、お客様が入手する割ピンが、当社が合意した機械的および寸法仕様を満たしていることが確認されます。
